 |
| ● | Material: UL94V-0 flame rated, UL approved PVC. |
| ● | Color: Grey. |
| ● | PVC service temperature: 85℃ |
| ● | UL Test up to 50℃ |
| ● | These devices are for routing of wires within devices in factory installations. |
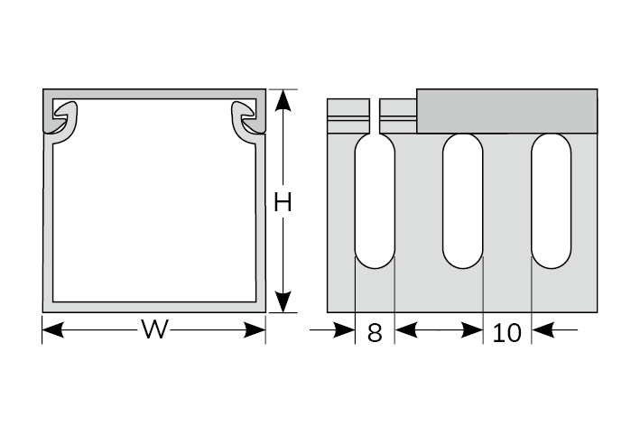
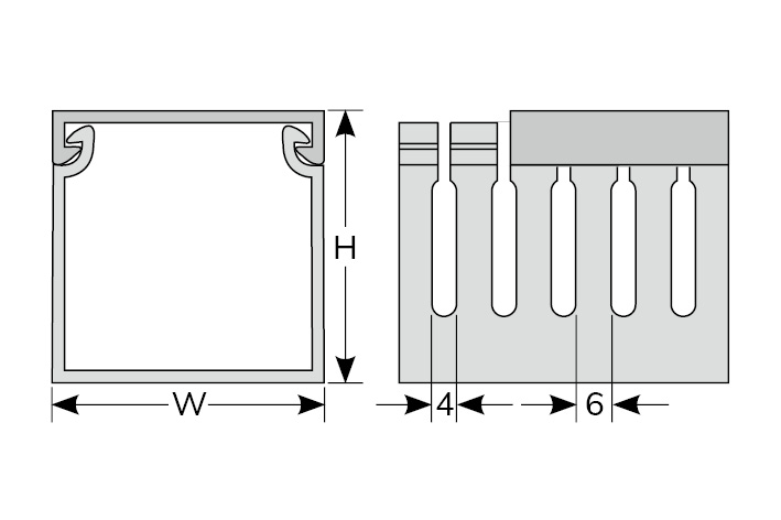
| ● | Feature: parallel holes on both sidewalls to facilitate cutting in wire application. |
| ※ | The standard wiring duct can be available for non-slip cover, suitable for vertical installations. The item number please specify for example, Item no. :AD-1X2 ⇒ AQ-1X2 Item no. :HD-1X2 ⇒ HQ-1X2 Item no. :SD-1.5X1 ⇒ SQ-1.5X1 Non-slip cover for the size less than 20mm width or bigger than 125mm is available upon request. |
|
 AD SLOT : 8mm |  HD SLOT : 4mm |  SD SOLID |
|
Size WxH | Length | Part No. |
| SLOT | SOLID |
| 8mm | 4mm |
| 25 x 50 | 2M | AD-1X2 | HD-1X2 | SD-1X2 |
| 25 x 75 | AD-1X3 | HD-1X3 | SD-1X3 |
| 38 x 25 | AD-1.5X1 | | SD-1.5X1 |
| 38 x 50 | AD-1.5X2 | HD-1.5X2 | SD-1.5X2 |
| 38 x 75 | AD-1.5X3 | HD-1.5X3 | SD-1.5X3 |
| 50 x 25 | AD-2X1 | HD-2X1 | SD-2X1 |
| 50 x 50 | AD-2X2 | | SD-2X2 |
| 50 x 75 | AD-2X3 | HD-2X3 | SD-2X3 |
| 75 x 50 | AD-3X2 | HD-3X2 | SD-3X2 |
| 75 x 75 | AD-3X3 | HD-3X3 | SD-3X3 |
| 75 x 100 | AD-3X4 | | SD-3X4 |

HAYATA P.C. ENTERPRISE CO., LTD.
- Last Updated 4 Februaryl 2026 -