| LOCKING WIRE SADDLE |
  |
 |
| ● | Material: UL94V-2 flame rated, UL approved Nylon 66. |
| ● | Color: Natural |
| ● | Application: Pre-drill 4.8mm hole PC board and fix the wire saddle, lock the wire in saddle with fingertip pressure. Can directing and gathering cable in any direction. |
|
 |
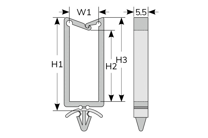
| Part No. | Dimension | PCB | Packing |
| W1 | H1 | H2 | H3 | Mounting Hole | Thickness |
| M1 | T1 |
| KWS-0 | 11.0 | 13.0 | 4.0 | 9.0 | 4.8 | 2.0 | 100 pcs / Bag |
| KWS-1 | 11.0 | 19.0 | 10.5 | 14.2 | 4.8 | 2.0 |
| KWS-2 | 11.0 | 27.0 | 19.0 | 23.0 | 4.8 | 2.0 |
| KWS-3 | 11.0 | 35.8 | 28.0 | 31.1 | 4.8 | 2.0 |
 |
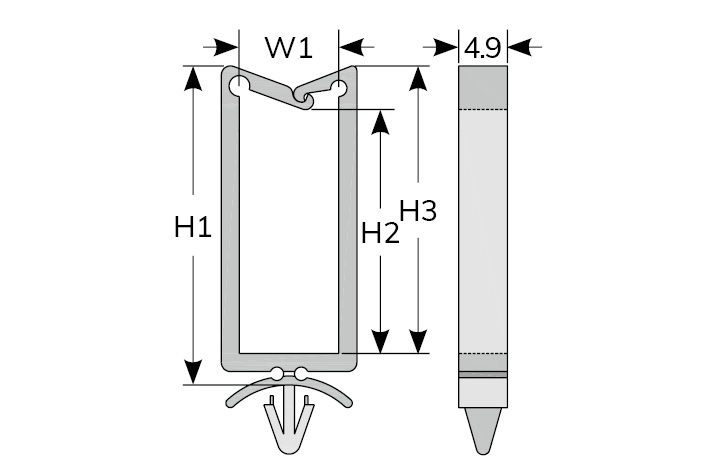
| Part No. | Dimension | PCB | Packing |
| W1 | H1 | H2 | H3 | Mounting Hole | Thickness |
| M1 | T1 |
| KWS-2L | 10.4 | 18.0 | 12.0 | 15.0 | 4.8 | 4.0 | 100 pcs / Bag |

HAYATA P.C. ENTERPRISE CO., LTD.
- Last Updated 4 Februaryl 2026 -